Destacados:
No es una inocentada: Yamaha ha patentado un sistema que aprovecha los gases de escape del motor para ayudar a controlar la moto, como haría con el empuje un pequeño cohete.
¿Te has preguntado alguna vez por qué todos los escapes tiran “hacia atrás”? Sobre todo se hace para evacuar más eficazmente los gases, pero si acercas la mano a un silenciador de una moto en marcha notas una clara presión. Esa presión ya se ha aprovechado en el pasado a modo de empuje, como un cohete: en la II Guerra Mundial algunos cazas aprovechaban sus escapes como ayuda extra (en los británicos Spitfire se dice que los gases de escape podían añadir hasta un 10 por ciento de empuje extra). Pues Yamaha ha pensado en otra cosa: usar ese empuje de los gases para controlar la moto, como evitar caballitos o ayuda en las curvas, tal como muestran las patentes que nuestros colegas de Cycle World han descubierto...

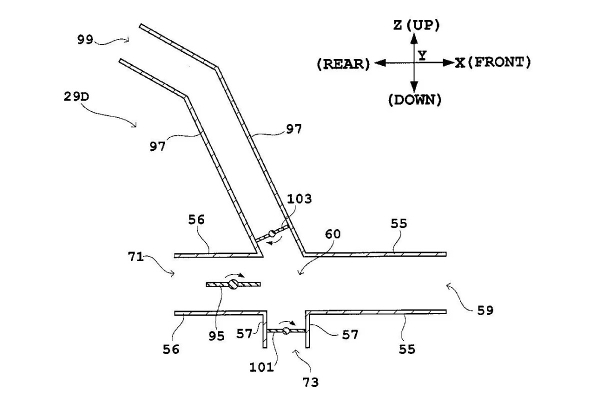
Yamaha ha registrado varias patentes en Japón en las que muestra cómo desviar los gases de escape del motor en función del resultado deseado. La patente muestra lo que parece una MT-07 aunque este sistema, si llega a ver la luz, tendría más sentido en motos más potentes (y con mucha mayor generación de gases), incluso en motos de carreras o hasta MotoGP. Hay dos patentes, una destinada a mostrar cómo usar este sistema para evitar caballitos para mejorar las aceleraciones, y otra patente para usar el empuje de los gases para mejorar la tracción en curva.
En las dos, el escape normal tiene una válvula añadida con una salida alternativa para los gases. En el sistema “anti caballito” los gases saldrían por una toma hacia arriba, de forma que el empuje del escape mantendría la rueda delantera más pegada al suelo. ¿Algunas MotoGP que ya tienen escapes en la parte alta del colín, buscan un efecto como éste? La idea de Yamaha es diferente ya que la válvula se abriría para facilitar la salida de gases (más potencia) en determinados momentos.

¿Y en las curvas? Ahí entra la segunda patente, con una idea quizás más peregrina: el escape también dispondría de una válvula y una salida adicional, en este caso dirigida hacia el suelo. Solo en caso de estar en curva, con la moto muy inclinada, se activaría este sistema: los gases saldrían hacia el exterior de la curva, y el empuje correspondiente a su reacción empujaría la moto (ligeramente) hacia el interior para evitar derrapar y mantener la trazada. Existe una variante con los dos sistemas montados para aprovechar tanto en aceleración en recta como en curva.
¿Será ésta el arma secreta que ayudará a Fabio Quartararo en MotoGP el año próximo? ¿Lo veremos en alguna moto de calle? Desde luego no podemos decir que esperábamos una idea como ésta…
¿Quieres estar al tanto de todas las novedades de Moto1Pro y EnduroPro?
Suscribete a nuestro newsletter para no perderte el mejor contenido relevante, novedades, opinión, podcast, etc.
Relacionados