Destacados:
Honda planea usar cámaras y sensores para detectar peligros en el ángulo muerto y ajustar automáticamente la dirección para evitarlos.
El ángulo muerto es uno de los mayores peligros de los usuarios en las vías públicas, en el caso de los motoristas la amenaza se acentúa por la vulnerabilidad frente a un automóvil (por no hablar de autobuses y camiones).
“No te he visto” es el mantra preferido de los automovilistas cuando, por alguna maniobra errónea, invaden la trayectoria del motorista, a veces con catastróficas consecuencias. Al ir en moto hay que tener en cuenta no solo los vehículos que no vemos por estar en un ángulo muerto, sino lo que quizá es más importante, ser siempre conscientes de que el pequeño volumen del conjunto moto/piloto provoca que los motoristas seamos a menudo invisibles (de ahí que se recomiende el uso de cascos y chaquetas de colores vivos).

Las marcas invierten grandes cantidades de recursos en la seguridad. Un ejemplo de ello es la patente de Honda, que tiene como objetivo trasladar a las dos ruedas la tecnología de la industria automovilística conocida como protección de seguridad activa.
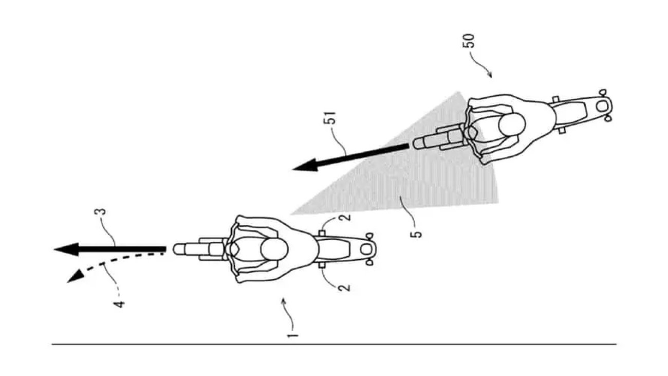
Un sistema de cámaras monitoriza los ángulos muertos y cuando detecta un vehículo que se acerca por detrás con el riesgo de provocar un accidente, unos actuadores intervienen en la dirección, para ayudar a evitar la amenaza.
Honda se ha enfrentado a las dificultades asociadas a la implementación de este sistema en una moto, un medio de transporte con una dinámica mucho más complicada que un vehículo de cuatro ruedas. En una moto la dirección afecta a parámetros como la estabilidad y el ángulo de inclinación.
Una vez que el piloto ha frenado o actuado sobre la dirección, el sistema entrará en acción cuando considere que el usuario no ha detectado el peligro. La actuación sobre la dirección se realizará de manera gradual para evitar que el piloto se asuste, intente corregir y acabe perdiendo el control.
Está por ver si esta tecnología llegue a la serie. Lo cierto es que los fabricantes continúan investigando en lo que se ha denominado ADAS (Advance Driver Assistance Systems – Sistemas Avanzados de Asistencia a la Conducción).
¿Quieres estar al tanto de todas las novedades de Moto1Pro y EnduroPro?
Suscribete a nuestro newsletter para no perderte el mejor contenido relevante, novedades, opinión, podcast, etc.
Tras estudiar periodismo e inglés, en los 80 me publicaron una entrevista con Kenny Roberts y desde entonces estoy en este mundo. Dispuesto a aprender hasta la caída de la bandera ajedrezada.
Relacionados