Destacados:
Piaggio ha presentado unas patentes para una suspensión delantera basada en un invento del siglo XIX de James Watt, el creador del motor a vapor...
Desde casi la invención de la moto, los fabricantes han estado buscando nuevas alternativas a las suspensiones convencionales, en especial en el tren delantero. Tras un siglo de evolución y desarrollo, la horquilla telescópica continúa utilizando el mismo principio, sin que se haya conseguido un cambio revolucionario.
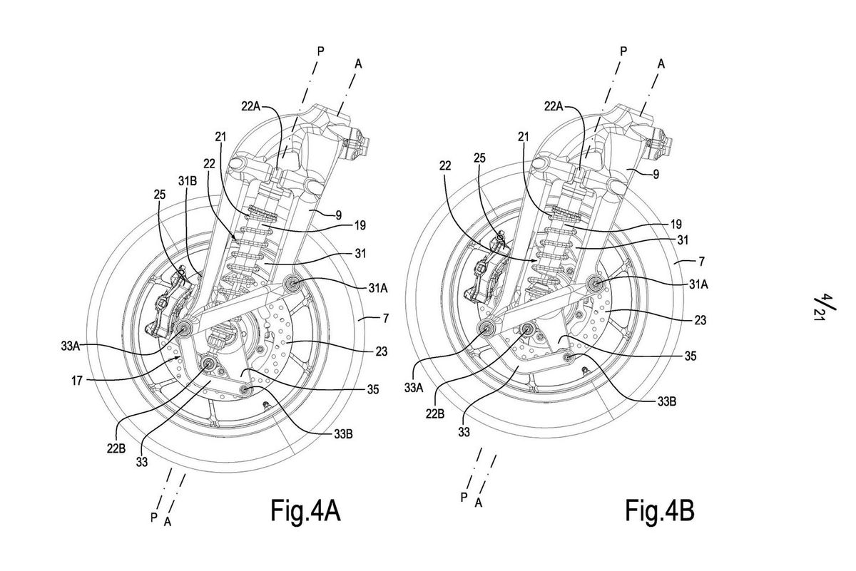
Los intentos para sustituir a la horquilla convencional no han sido pocos, ya sea el Telelever de BMW, o el sistema empleado por la Yamaha GTS 1000 Omega o la Bimota Tesi. A pesar de todo, la horquilla se sigue montando en la inmensa mayoría de las motos. Aunque ahora Piaggio está trabajando en una suspensión anterior basada en el mecanismo de Watt. Sí, James Watt: fue un tipo del siglo XVIII muy espabilado que, entre otras cosas, inventó (o quizá deberíamos decir mejoró) el motor de vapor. Esta suspensión delantera replica el movimiento lineal de una horquilla convencional pero gracias al paralelogramo de Watt permite jugar con el efecto de hundimiento. Además de llevar todo el sistema por un solo lado, de manera similar a lo que ocurre en la mayoría de los scooter.

Los compañeros de cycleworld.com han revelado unas patentes de Piaggio que podrían suponer la primera vez que el sistema ideado por James Watt hace más de 200 años vaya a ser utilizado en la horquilla de una moto moderna. La compañía italiana está trabajando con diferentes variaciones, empleando tres anclajes que forman una especie de Z. A primera vista no parece tan diferente a la suspensión de una Vespa, pero en este caso hay dos anclajes adicionales, además del anclaje que sujeta la rueda. El resultado es que el movimiento de la rueda delantera es similar al de una horquilla convencional, aunque no discurre completamente recto. Los anclajes y la posición de la pinza de freno permiten aumentar o disminuir el hundimiento.

Una de las ventajas del sistema de Piaggio es que es compacto y solo discurre por un lado, ideal para los vehículos de tres ruedas (MP3) en los que el gigante italiano ha sido pionero. Lo único que haría falta es utilizar un brazo para cada rueda, como se puede apreciar en los dibujos que ha presentado la marca italiana. Por supuesto, patentar algo no significa que se vaya a llevar a la serie de forma inmediata. De todas maneras, Piaggio ostenta una clara posición de liderazgo en el sector de los scooter de tres ruedas que querrá reforzar…
¿Quieres estar al tanto de todas las novedades de Moto1Pro y EnduroPro?
Suscribete a nuestro newsletter para no perderte el mejor contenido relevante, novedades, opinión, podcast, etc.
Tras estudiar periodismo e inglés, en los 80 me publicaron una entrevista con Kenny Roberts y desde entonces estoy en este mundo. Dispuesto a aprender hasta la caída de la bandera ajedrezada.
Relacionados